分散機,也被稱為攪拌機,是一種用來將漆料,顏料等材料進行均勻混合,配合砂磨機分散的設備。目前分散機的高速分散效果也已經被應用于超細顏料直接分散設備。
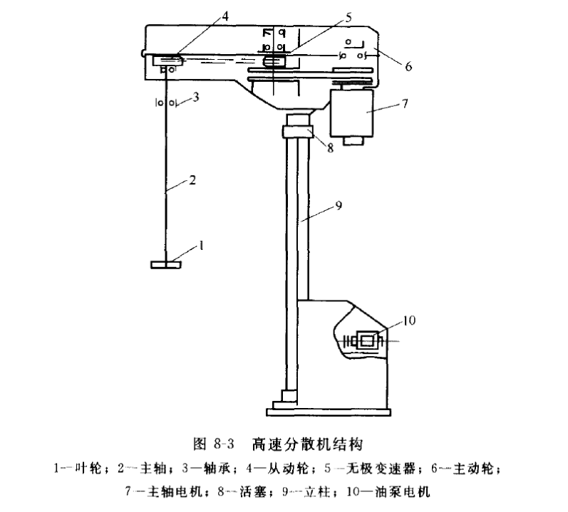
分散機的基本結構是由電動機,分散葉輪,配料罐組成。
電動機:分散機的電動機可以通過變速來使主軸轉動。
分散葉輪:分散機主軸下面有一個分散葉輪,通過主軸的轉動可以帶動分散葉輪高速旋轉,并且對物料產生混合與分散作用。
分散軸下的分散葉輪是一種鋸齒型葉輪。在葉輪的圓周邊緣上下交錯彎成鋸齒型,其傾斜角與沿切線方向成20°~40°,葉輪轉動時每個齒的立緣面可產生強沖擊作用。齒外緣面推動物體向外流動,形成循環(huán)與剪切力。
高速分散的機頭:可以通過借助液壓進行升降調控,并且可以繞立柱做180°~360°的旋轉。
分散過程中,鋸齒附近的物料一部分被加速拋出,一部分想內減速滑過齒內緣面強化剪切作用,漆料循環(huán)到鋸齒附近,不斷受到加速和滑切,在粘度作用下被分散,鋸齒之間的齒孔可以形成氣濁,以增大顏料粒子的分散效果。
配料罐:是一種用來裝分散材料的工具。

1、分散機的品牌和類型有很多種,要根據不同的粘度和材料,選擇合適的分散機進行研磨分散。
2、高速分散機中,材料的分散過程中不能盲目提高轉速,要根據不同的材料組成以適應的高速分散機性能,提高分散效率。
3、分散機的分散時間不能過長,一般在10~15分鐘左右。
4、分散機使用時間太長,其葉輪會磨損,降低分散效率,這時應該隨時更換葉輪。
5、注意不能將高速分散機空車運行,操作過程,要慢速啟動和慢速停車,操作結束后腰刷洗干凈。
德國VMA進口的高速分散機是目前備受歡迎的分散機品牌,其多款創(chuàng)新工藝操作系統(tǒng),多轉子自由切換,以及幾種不同的研磨系統(tǒng)實現不同的研磨效果等優(yōu)勢,讓分散效果更加理想。另外,用戶還可以選擇不同功能型號的VMA分散機來達到更佳分散效果。
以上就是針對分散機的相關知識的簡單介紹,如有疑問,可以隨時致翁開爾客服進行咨詢了解。